Patentes Registadas da Apple - Parte 2 1

Patentes Registadas da Apple – Parte 2

Este artigo mostra como será o futuro da empresa: Patentes Registadas da Apple.

A Apple, conhecida por inovar e desafiar os limites da tecnologia, tem vários projetos e patentes que apontam para um futuro excitante. Os itens mencionados refletem o compromisso da empresa em expandir as suas ofertas e melhorar a experiência do utilizador.

 

1. iPhone Enrolável: 

Patente Apple iPhone enrolável

   – A Apple patenteou ideias para um iPhone com um ecrã que pode ser enrolado, permitindo uma maior flexibilidade e possivelmente um ecrã maior.

 

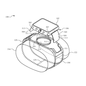
2. Anel Inteligente:

Patente Apple Anel Inteligente

   – Patentes revelam um anel inteligente que pode ser usado para controlar outros dispositivos Apple ou receber notificações.

 

3. Apple Watch com Câmera:

Patenter registadas da Apple Watch com camera

   – Há patentes que sugerem a incorporação de uma câmera no Apple Watch, o que pode permitir videochamadas diretamente do pulso.

 

4. Estojo dos AirPods com Câmera Digital:

Patente Apple Airpods com camera

   – Uma patente intrigante sugere um estojo de AirPods equipado com uma câmera, possivelmente permitindo aos usuários capturar fotos e vídeos de forma discreta.

 

5. Tecnologia Biométrica de Reconhecimento da Palma da Mão:

Apple Patente Reconhecimento Palma da Mão

   – Esta tecnologia pode permitir que os dispositivos da Apple, como o iPhone e o Apple Watch, reconheçam os usuários pela palma da mão, proporcionando um nível extra de segurança.

 

6. Teclado à Prova de Migalhas e Líquidos:

Apple Patente Teclado À Prova de Migalhas

   – A Apple tem patentes para teclados resistentes a líquidos e migalhas, o que pode aumentar a durabilidade e a vida útil dos seus dispositivos.

 

7. Bicicleta Inteligente:

Apple Patente Bicicleta

   – Uma bicicleta inteligente que pode monitorizar e fornecer dados sobre a velocidade, altitude, frequência cardíaca, entre outros, pode estar no horizonte.

 

8. Drone da Apple:

Patente Drone Apple

   – Embora a Apple não tenha lançado um drone, há especulações e patentes que sugerem que a empresa pode estar a explorar essa área.

 

9. Siri Capaz de Ler os Lábios:

Patentes registadas da apple Siri capaz de ler os lábios

   – A capacidade de ler lábios pode ser uma adição futura à Siri para melhorar o reconhecimento de voz em ambientes ruidosos.

 

10. Apple Car:

Patente Carro Apple

    – A Apple tem mostrado interesse em veículos autónomos e há rumores de que a empresa esteja a trabalhar num carro elétrico.

 

11. Outras Patentes:

    – A Apple também tem explorado patentes para melhorar a interação do usuário com os dispositivos, como teclados virtuais, melhorias na coroa digital dos relógios Apple e tecnologias de carregamento sem fios através do ecrã para iPhones, iPads e MacBooks.

 

Estas patentes registadas da Apple e conceitos futuristas mostram o contínuo compromisso da empresa em inovar e melhorar a experiência do usuário através de novas tecnologias e dispositivos. O futuro da Apple parece promissor, com uma ampla gama de produtos potenciais que podem mudar a forma como interagimos com a tecnologia.

 

Parte 1: O Futuro da Apple: Patentes Registadas

Deixe um comentário

Não percas as melhores oportunidades

Recebe novidades, ofertas exclusivas e dicas sobre tecnologia recondicionada. Sem spam — só o que interessa.