Este artigo mostra como será o futuro da empresa: Patentes Registadas da Apple.
A Apple, conhecida por inovar e desafiar os limites da tecnologia, tem vários projetos e patentes que apontam para um futuro excitante. Os itens mencionados refletem o compromisso da empresa em expandir as suas ofertas e melhorar a experiência do utilizador.
Neste artigo
- 1. iPhone Enrolável:
- 2. Anel Inteligente:
- 3. Apple Watch com Câmera:
- 4. Estojo dos AirPods com Câmera Digital:
- 5. Tecnologia Biométrica de Reconhecimento da Palma da Mão:
- 6. Teclado à Prova de Migalhas e Líquidos:
- 7. Bicicleta Inteligente:
- 8. Drone da Apple:
- 9. Siri Capaz de Ler os Lábios:
- 10. Apple Car:
- 11. Outras Patentes:
- Sobre a iOutlet
1. iPhone Enrolável:
– A Apple patenteou ideias para um iPhone com um ecrã que pode ser enrolado, permitindo uma maior flexibilidade e possivelmente um ecrã maior.
2. Anel Inteligente:
– Patentes revelam um anel inteligente que pode ser usado para controlar outros dispositivos Apple ou receber notificações.
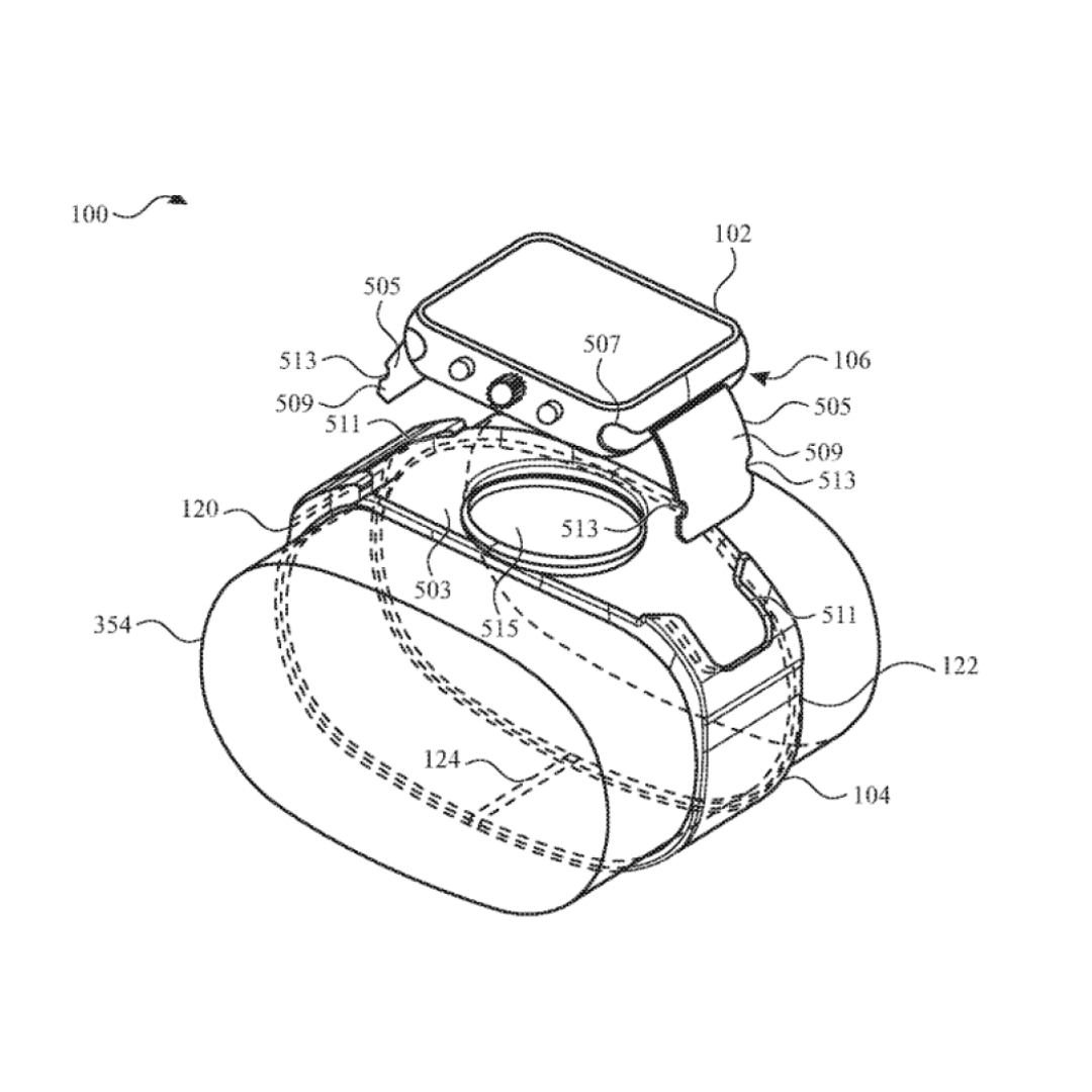
3. Apple Watch com Câmera:
– Há patentes que sugerem a incorporação de uma câmera no Apple Watch, o que pode permitir videochamadas diretamente do pulso.
4. Estojo dos AirPods com Câmera Digital:
– Uma patente intrigante sugere um estojo de AirPods equipado com uma câmera, possivelmente permitindo aos usuários capturar fotos e vídeos de forma discreta.
5. Tecnologia Biométrica de Reconhecimento da Palma da Mão:
– Esta tecnologia pode permitir que os dispositivos da Apple, como o iPhone e o Apple Watch, reconheçam os usuários pela palma da mão, proporcionando um nível extra de segurança.
6. Teclado à Prova de Migalhas e Líquidos:
– A Apple tem patentes para teclados resistentes a líquidos e migalhas, o que pode aumentar a durabilidade e a vida útil dos seus dispositivos.
7. Bicicleta Inteligente:
– Uma bicicleta inteligente que pode monitorizar e fornecer dados sobre a velocidade, altitude, frequência cardíaca, entre outros, pode estar no horizonte.
8. Drone da Apple:
– Embora a Apple não tenha lançado um drone, há especulações e patentes que sugerem que a empresa pode estar a explorar essa área.
9. Siri Capaz de Ler os Lábios:
– A capacidade de ler lábios pode ser uma adição futura à Siri para melhorar o reconhecimento de voz em ambientes ruidosos.
10. Apple Car:
– A Apple tem mostrado interesse em veículos autónomos e há rumores de que a empresa esteja a trabalhar num carro elétrico.
11. Outras Patentes:
– A Apple também tem explorado patentes para melhorar a interação do usuário com os dispositivos, como teclados virtuais, melhorias na coroa digital dos relógios Apple e tecnologias de carregamento sem fios através do ecrã para iPhones, iPads e MacBooks.
Estas patentes registadas da Apple e conceitos futuristas mostram o contínuo compromisso da empresa em inovar e melhorar a experiência do usuário através de novas tecnologias e dispositivos. O futuro da Apple parece promissor, com uma ampla gama de produtos potenciais que podem mudar a forma como interagimos com a tecnologia.
Parte 1: O Futuro da Apple: Patentes Registadas
Sobre a iOutlet
A iOutlet é a loja líder em Portugal de dispositivos Apple e Samsung recondicionados. Todos os produtos incluem garantia de 2 anos, verificação completa e preços até 50% inferiores ao novo.
Tecnologia recondicionada com garantia
iPhones, MacBooks, iPads e mais — testados e certificados com 24 meses de garantia.












